Qingdao Ruichen Penyegelan Teknologi Co, Ltd.
Qingdao Ruichen Penyegelan Teknologi Co, Ltd.
Produk
X

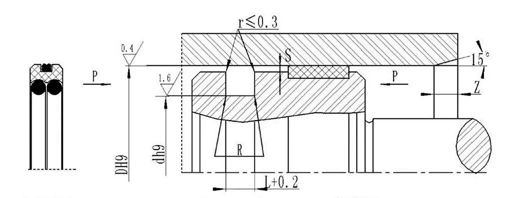
Segel Senyawa PTFE Tipe AQF

Sebagai produsen asal China, Ruichen Seals memiliki kemampuan berkembang dan berinovasi. Segel Senyawa PTFE Tipe AQF yang diluncurkan oleh Ruichen Seals menggunakan kombinasi cincin penyegel PTFE gesekan rendah dan elastomer tahan minyak. Ia memiliki penampilan yang kompak dan kemampuan beradaptasi yang kuat, dan secara khusus cocok untuk sistem hidrolik pada mesin makanan, peralatan medis, dan lingkungan yang bersih.

Segel Senyawa PTFE Tipe AQF menawarkan beragam elastomer NBR/FKM dan opsi cincin penyegel PTFE1-PTFE4. Ini anti polusi dan tahan korosi, serta mendukung penyesuaian dan grosir massal.


Kondisi kerja yang berlaku

Tekanan Mpa

Suhu ℃

Kecepatan m/s

Sedang

≤60

-35~+100 (NBR)

≤3

Oli hidrolik, emulsi, air, gas, dll.

-20~+200 (FKM)


Pemilihan Bahan

1. Bahan elastomer yang tersedia: Karet nitril R01 (NBR), Karet fluoro RO2 (FKM), dll.

2. Bahan Cincin Penyegel: Bahan standar: PTFE3; bahan lain yang tersedia: PTFE1, PTFE2, dan PTFE4.



Tag Panas: Segel Senyawa PTFE Tipe AQF
mengirimkan permintaan
Info kontak
Dapatkan harga yang kompetitif, dukungan teknis, dan tanggapan cepat. Kirim spesifikasi Anda ke Ruichen untuk solusi penyegelan yang disesuaikan. Sampel gratis tersedia.
X
Kami menggunakan cookie untuk menawarkan Anda pengalaman penelusuran yang lebih baik, menganalisis lalu lintas situs, dan mempersonalisasi konten. Dengan menggunakan situs ini, Anda menyetujui penggunaan cookie kami. Kebijakan Privasi
Menolak Menerima