|
Tekanan/MPa |
Suhu / °C |
Kecepatan /m/s |
Sedang |
|
≤40 |
-35~+100 (dengan cincin-O NBR yang serasi) |
≤2 |
Oli hidrolik, emulsi, air, gas, dll. |
-20~+200 (dengan FKM O-ring yang cocok) |
1. Bahan O-ring yang sesuai antara lain: R01 Nitrile Butadiene Rubber (NBR), R02 Fluororubber (FKM), dll.
2. Bahan cincin penyegel: Bahan standar PTFE3 dan PTFE4; bahan opsional lainnya termasuk PTFE1, PTFE2, dan PTFE5.
Ruichen telah melakukan penelitian dan pengembangan independen serta produksi dari awal bahan mentah, mewujudkan kendali seluruh rantai produk.
1. Rekayasa plastik dan material komposit: Kami menggunakan polytetrafluoroethylene (PTFE) sebagai intinya, mulai dari pencampuran, sintering hingga pencetakan, produksi independen semua jenis tabung dan batang material komposit modifikasi yang diisi, dan kemudian pemrosesan presisi menjadi segel. Hal ini memastikan stabilitas dan kemampuan penyesuaian sifat material.
2. Elastomer poliuretan berkinerja tinggi: Kami mulai dari pengecoran prapolimer, secara mandiri memproduksi bahan pipa dan batang poliuretan berkualitas tinggi, dan memprosesnya menjadi berbagai jenis segel, yang luar biasa dalam ketahanan aus, ketahanan tekanan, dan ketahanan hidrolisis.
Contoh Pemesanan
Model Pemesanan RC2054—80×69×4.2—PTFE3—R01 Model-D*d*L- Kode Material Model Pemesanan RCX18—80×69x4.2—HPU Model-D*d*L- Kode Material
Tabel spesifikasi dan parameter (spesifikasi apa pun dalam rentang parameter tersedia)
|
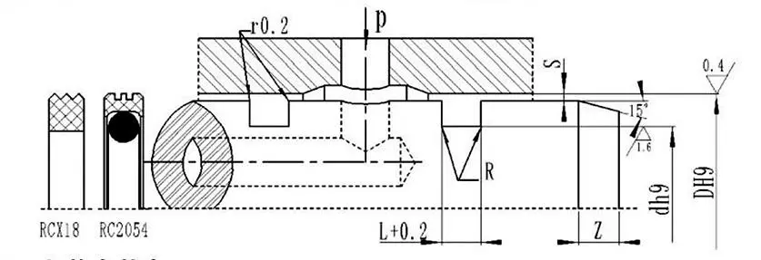
Rentang bukaan DH9 |
Diameter parit dh9 |
Lebar parit L+0,2 |
Jarak bebas radial Smaks |
Sudut membulat Maks |
Talang Zmin |
|
|
0~10Mpa |
10~20Mpa |
|||||
|
8~39 |
H-4.9 |
2.2 |
0.15 |
0.1 |
0.4 |
2 |
|
40~79 |
H-7.5 |
3.2 |
0.2 |
0.15 |
0.6 |
3 |
|
80~132 |
H-11.0 |
4.2 |
0.25 |
0.2 |
1.0 |
4 |
|
133~329 |
H-15.5 |
6.3 |
0.3 |
0.25 |
1.3 |
5 |
|
330~669 |
H-21.0 |
8.1 |
0.3 |
0.25 |
1.8 |
7 |
|
670~1500 |
H-28.0 |
9.5 |
0.45 |
0.3 |
2.0 |
8 |
|
D |
d |
L |
D |
d |
L |
D |
d |
L |
D |
d |
L |
|
8 |
3.1 |
2.2 |
50 |
42.5 |
3.2 |
170 |
154.5 |
6.3 |
380 |
359.0 |
8.1 |
|
10 |
5.1 |
2.2 |
55 |
47.5 |
3.2 |
180 |
164.5 |
6.3 |
390 |
369.0 |
8.1 |
|
12 |
7.1 |
2.2 |
60 |
52.5 |
3.2 |
190 |
174.5 |
6.3 |
400 |
379.0 |
8.1 |
|
14 |
9.1 |
2.2 |
63 |
55.5 |
3.2 |
200 |
184.5 |
6.3 |
420 |
399.0 |
8.1 |
|
15 |
10.1 |
2.2 |
65 |
57.5 |
3.2 |
210 |
194.5 |
6.3 |
450 |
429.0 |
8.1 |
|
16 |
11.1 |
2.2 |
70 |
62.5 |
3.2 |
220 |
204.5 |
6.3 |
480 |
459.0 |
8.1 |
|
18 |
13.1 |
2.2 |
75 |
67.5 |
3.2 |
230 |
214.5 |
6.3 |
500 |
479.0 |
8.1 |
|
20 |
15.1 |
2.2 |
80 |
69.0 |
4.2 |
240 |
224.5 |
6.3 |
520 |
499.0 |
8.1 |
|
22 |
17.1 |
2.2 |
85 |
74.0 |
4.2 |
250 |
234.5 |
6.3 |
550 |
529.0 |
8.1 |
|
24 |
19.1 |
2.2 |
90 |
79.0 |
4.2 |
260 |
244.5 |
6.3 |
600 |
579.0 |
8.1 |
|
25 |
20.1 |
2.2 |
95 |
84.0 |
4.2 |
270 |
254.5 |
6.3 |
630 |
609.0 |
8.1 |
|
28 |
23.1 |
2.2 |
100 |
89.0 |
4.2 |
280 |
264.5 |
6.3 |
650 |
629.0 |
8.1 |
|
30 |
25.1 |
2.2 |
105 |
94.0 |
4.2 |
290 |
274.5 |
6.3 |
670 |
642.0 |
9.5 |
|
32 |
27.1 |
2.2 |
110 |
99.0 |
4.2 |
300 |
284.5 |
6.3 |
700 |
672.0 |
9.5 |
|
35 |
30.1 |
2.2 |
115 |
104.0 |
4.2 |
310 |
294.5 |
6.3 |
750 |
722.0 |
9.5 |
|
36 |
31.1 |
2.2 |
120 |
109.0 |
4.2 |
320 |
304.5 |
6.3 |
800 |
772.0 |
9.5 |
|
38 |
33.1 |
2.2 |
125 |
114.0 |
4.2 |
330 |
309.0 |
8.1 |
1000 |
972.0 |
9.5 |
|
40 |
32.5 |
3.2 |
130 |
119.0 |
4.2 |
340 |
319.0 |
8.1 |
|
|
|
|
42 |
34.5 |
3.2 |
140 |
124.5 |
6.3 |
350 |
329.0 |
8.1 |
|
|
|
|
45 |
37.5 |
3.2 |
150 |
134.5 |
6.3 |
360 |
339.0 |
8.1 |
|
|
|
|
48 |
40.5 |
3.2 |
160 |
144.5 |
6.3 |
370 |
349.0 |
8.1 |
|
|
|
Catatan: Spesifikasi yang diperlukan tidak tercantum di sini; silakan hubungi perusahaan kami. Kami menawarkan produk dengan diameter maksimum 2800mm.



Alamat
Jalan Ruichen No.1, Taman Industri Dongliuting, Distrik Chengyang, Kota Qingdao, Provinsi Shandong, Cina
Telp