|
Tekanan/MPa |
Suhu / °C |
Kecepatan /m/s |
Sedang |
|
≤40 |
-35~+100 (dengan cincin-O NBR) |
≤2 |
Oli hidrolik, emulsi, air, gas, dll. |
|
-20~+200 (dengan cincin-O FKM) |
1. Bahan O-ring yang tersedia: R01 Nitrile Butadiene Rubber (NBR), R02 Fluororubber (FKM), dll.
2. Bahan cincin penyegel: Bahan standar PTFE3 dan PTFE4; bahan opsional lainnya termasuk PTFE1, PTFE2, dan PTFE5.
Contoh Pemesanan
Pemesanan Model RC2052—80x91×4.2—PTFE3—R01 Model-dxDxL- Kode Bahan
Model Pemesanan RCX17—80x91×4.2—Model HPU-dxDxL- Kode Material
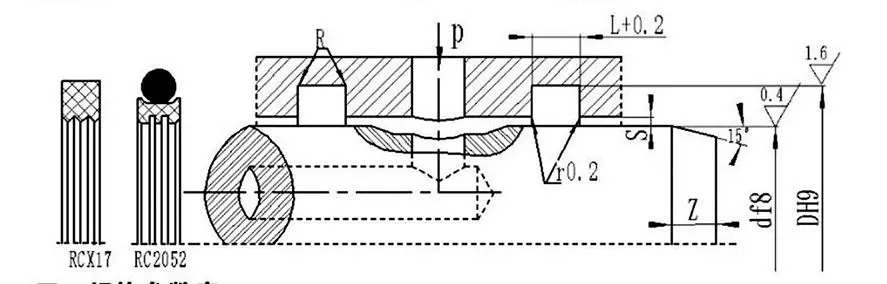
Tabel spesifikasi dan parameter (spesifikasi apa pun dalam rentang parameter tersedia)
|
Kisaran diameter poros d f8 |
Diameter parit DH9 |
Lebar parit L+⁰.2 |
Jarak bebas radial Smaks |
Sudut membulat Maks |
Talang Zmin |
|
|
0~10Mpa |
10~20Mpa |
|||||
|
6~18 |
hari+49 |
2.2 |
0.15 |
0.1 |
0.4 |
2 |
|
19~37 |
hari+7.5 |
3.2 |
0.2 |
0.15 |
0.6 |
3 |
|
38~199 |
hari+11.0 |
4.2 |
0.25 |
0.2 |
1.0 |
4 |
|
200~255 |
hari+15.5 |
6.3 |
0.3 |
0.25 |
1.3 |
5 |
|
256~649 |
hari+21.0 |
8.1 |
0.3 |
0.25 |
1.8 |
7 |
|
650~1500 |
hari+28.0 |
9.5 |
0.45 |
0.3 |
2.0 |
8 |
Catatan: Untuk diameter poros ≤ 30mm, disarankan menggunakan alur terbuka.
|
d |
D |
L |
d |
D |
L |
d |
D |
L |
d |
D |
L |
|
8 |
12.9 |
2.2 |
48 |
59.0 |
4.2 |
150 |
161.0 |
4.2 |
350 |
371.0 |
8.1 |
|
10 |
14.9 |
2.2 |
50 |
61.0 |
4.2 |
160 |
171.0 |
4.2 |
360 |
381.0 |
8.1 |
|
12 |
16.9 |
2.2 |
55 |
66.0 |
4.2 |
170 |
181.0 |
4.2 |
370 |
391.0 |
8.1 |
|
14 |
18.9 |
2.2 |
60 |
71.0 |
4.2 |
180 |
191.0 |
4.2 |
380 |
401.0 |
8.1 |
|
15 |
19.9 |
2.2 |
63 |
74.0 |
4.2 |
190 |
201.0 |
4.2 |
390 |
411.0 |
8.1 |
|
16 |
20.9 |
2.2 |
65 |
76.0 |
4.2 |
200 |
215.5 |
6.3 |
400 |
421.0 |
8.1 |
|
18 |
22.9 |
2.2 |
70 |
81.0 |
4.2 |
210 |
225.5 |
6.3 |
420 |
441.0 |
8.1 |
|
20 |
27.5 |
3.2 |
75 |
86.0 |
4.2 |
220 |
235.5 |
6.3 |
450 |
471.0 |
8.1 |
|
22 |
29.5 |
3.2 |
80 |
91.0 |
4.2 |
230 |
245.5 |
6.3 |
480 |
501.0 |
8.1 |
|
24 |
31.5 |
3.2 |
85 |
96.0 |
4.2 |
240 |
255.5 |
6.3 |
500 |
521.0 |
8.1 |
|
25 |
32.5 |
3.2 |
90 |
101.0 |
4.2 |
250 |
265.5 |
6.3 |
520 |
541.0 |
8.1 |
|
28 |
35.5 |
3.2 |
95 |
106.0 |
4.2 |
260 |
281.0 |
8.1 |
550 |
571.0 |
8.1 |
|
30 |
37.5 |
3.2 |
100 |
111.0 |
4.2 |
270 |
291.0 |
8.1 |
600 |
621.0 |
8.1 |
|
32 |
39.5 |
3.2 |
105 |
116.0 |
4.2 |
280 |
301.0 |
8.1 |
630 |
651.0 |
8.1 |
|
35 |
42.5 |
3.2 |
110 |
121.0 |
4.2 |
290 |
311.0 |
8.1 |
650 |
678.0 |
8.1 |
|
36 |
43.5 |
3.2 |
115 |
126.0 |
4.2 |
300 |
321.0 |
8.1 |
670 |
698.0 |
9.5 |
|
38 |
49.0 |
4.2 |
120 |
131.0 |
4.2 |
310 |
331.0 |
8.1 |
700 |
728.0 |
9.5 |
|
40 |
51.0 |
4.2 |
125 |
136.0 |
4.2 |
320 |
341.0 |
8.1 |
750 |
778.0 |
9.5 |
|
42 |
53.0 |
4.2 |
130 |
141.0 |
4.2 |
330 |
351.0 |
8.1 |
800 |
828.0 |
9.5 |
|
45 |
56.0 |
4.2 |
140 |
151.0 |
4.2 |
340 |
361.0 |
8.1 |
1000 |
1028.0 |
9.5 |
Catatan: Spesifikasi yang diperlukan tidak tercantum di sini; silakan hubungi perusahaan kami. Kami menawarkan produk dengan diameter maksimum 2800mm.





Petunjuk pemasangan dan penggunaan menyeluruh
Rui Chen tahu bahwa pemasangan yang benar adalah prasyarat pertama untuk memastikan kinerja penuh segel, kami juga akan memberi Anda panduan komprehensif tentang penggunaan setiap produk, terutama suku cadang khusus yang rumit atau non-standar, akan ada panduan pemasangan grafis yang terperinci.
Panduan ini disertai dengan diagram langkah demi langkah definisi tinggi dan instruksi teks yang dengan jelas menunjukkan titik inspeksi sebelum pemasangan, langkah pemasangan yang benar, peralatan yang diperlukan, dan pengoperasian salah yang harus dihindari, seolah-olah teknisi kami ada di lokasi. Selain itu, untuk rakitan atau sistem yang kompleks, kami membuat tutorial video profesional yang memungkinkan operator Anda menguasai teknik pemasangan dan tindakan pencegahan secara intuitif dan cepat melalui demonstrasi dinamis, sehingga sangat mengurangi risiko kegagalan dini akibat pemasangan yang tidak tepat.
Alamat
Jalan Ruichen No.1, Taman Industri Dongliuting, Distrik Chengyang, Kota Qingdao, Provinsi Shandong, Cina
Telp