Cincin penyegelan berbentuk bintang adalah segel empat-lip dengan bentuk seperti X, sehingga juga disebut X-ring. Ini adalah peningkatan dan peningkatan berdasarkan cincin-O. Dimensi cross-sectionalnya sama dengan cincin-O dari standar AS568A Amerika, dan pada dasarnya dapat menggantikan penggunaan cincin-O.
Dibandingkan dengan cincin-O, cincin penyegelan berbentuk bintang membentuk rongga pelumasan antara bibir penyegelan, yang memiliki resistensi gesekan yang lebih kecil dan resistensi awal yang kecil. Karena tepi flashnya terletak di bagian cekung dari penampang, efek penyegelan lebih baik. Penampang non-sirkular secara efektif menghindari fenomena bergulir selama gerakan bolak-balik.
Rentang aplikasi cincin penyegelan berbentuk bintang sangat lebar. Pilih bahan yang sesuai sesuai dengan suhu, tekanan dan medium. Untuk membuat cincin penyegelan berbentuk bintang beradaptasi dengan aplikasi yang diberikan, kendala timbal balik antara semua parameter kerja harus dipertimbangkan. Saat menentukan kisaran aplikasi, suhu puncak, suhu kerja terus menerus dan siklus operasi harus dipertimbangkan. Pada kesempatan yang berputar, kenaikan suhu yang disebabkan oleh panas gesekan juga harus dipertimbangkan.
Cincin penyegelan berbentuk X ini adalah elemen penyegelan yang mengetuk sendiri. Gaya penyegelan dalam keadaan awal tergantung pada jumlah kompresi dan kekerasan material. Ketika tekanan sistem meningkat, deformasi kompresi cincin penyegelan akan meningkat, dan total gaya penyegelan akan meningkat, membentuk segel yang andal.
Fitur dan Aplikasi Produk:
Pilihan cincin penyegelan berbentuk bintang
Penyegelan statis atau gerakan linier bolak -balik
(1) Sealing lubang: Diameter dalam cincin penyegelan berbentuk bintang harus kompatibel dengan alur, atau kurang dari sekitar 2% dari diameter dasar alur. Karena gaya pra-kompresi yang dihasilkan oleh pra-kompresi dapat secara efektif mencegah cincin segel dari memutar dan bergulir.
(2) Penyegelan poros: Diameter dalam cincin penyegelan berbentuk bintang harus sama atau sedikit lebih besar dari diameter luar poros, yang dapat dikontrol dalam 1%. Cincin segel akan lebih mudah dipasang dan memiliki masa pelayanan yang lebih lama.
Penyegelan putar
Diameter dalam cincin berbentuk bintang adalah sekitar 2 ~ 5% lebih besar dari diameter poros yang disegel. Karena cincin segel akan menghasilkan gesekan dan panas saat digunakan secara rotasi, dan elastomer akan menyusut setelah pemanasan (efek pemanasan joule). Untuk memastikan pelumasan dan pengoperasian cincin segel yang andal, cincin berbentuk bintang dengan diameter dalam yang lebih besar dari diameter poros yang harus dipilih. Secara umum, cincin segel dengan penampang yang lebih kecil dapat memenuhi kebutuhan penyegelan statis, dan sebaliknya, cincin segel dengan penampang yang lebih besar harus digunakan untuk memenuhi persyaratan penyegelan dinamis. Dalam kasus celah ekstrusi tekanan tinggi atau besar, bahan karet dengan kekerasan yang lebih tinggi perlu dipilih. Cara terbaik adalah menambahkan cincin dukungan PTFE untuk mencegah kerusakan dari ekstrusi tekanan tinggi.
Bahan
Bahannya umumnya Shaw A70 Nitrile Rubber NBR. Bahan lain dapat merujuk pada bahan yang digunakan untuk cincin-O.
| Tabel 2-1 Parameter Kinerja | ||||
| Parameter teknis | Segel dinamis | Segel statis | ||
| Gerakan bolak -balik | Gerakan Rotasi | |||
| Tekanan kerja (MPA) | Dengan cincin penahan | 30 | 15 | 40 |
| Tanpa menahan cincin | 5 | - | 5 | |
| Kecepatan (M/S) | 0.5 | 2.0 | - | |
| Suhu (℃) | Acara Umum: -30 ℃ ~+110 ℃ | |||
| Bahan Khusus: -60 ℃ ~+200 ℃ | ||||
| Acara rotasi: -30 ℃ ~+80 ℃ | ||||
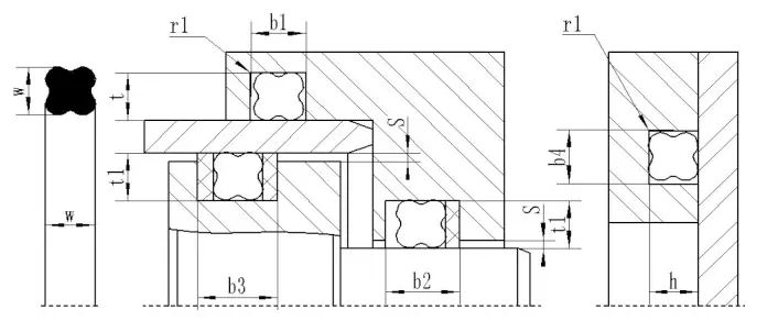
Cincin bintang direkomendasikan desain alur
| Ring-Ring Ring-X-Ring Berbentuk Bintang (Standard American AS568A) | |||||||||
| Segel batang piston (untuk poros) | Segel piston (lubang) | ||||||||
![]() |
![]() |
||||||||
| Model produk | Spesifikasi dan Dimensi | Segel batang | Segel piston | Lebar slot |
|
||||
| Diameter dalam DN | Diameter cross-sectional cs | D1 | D2 | D3 | D4 | L | W | ||
| AS001 AS002 AS003 |
0.74 1.07 1.42 |
1.02 1.27 1.52 |
|
|
|
|
|
|
|
| AS004 AS005 AS006 |
1.78 2.57 2.9 |
1.78 1.78 1.78 |
3 | 6.1 | 6 | 2.9 | 2 | 1.55 | |
| AS007 AS008 AS009 |
3.68 4.47 5.28 |
1.78 1.78 1.78 |
3.5 4.5 5 |
6.6 7.6 8.1 |
7 8 9 |
3.9 4.9 5.9 |
2 2 2 |
1.55 1.55 1.55 |
|
| AS010 AS011 AS012 |
6.07 7.65 9.25 |
1.78 1.78 1.78 |
6 8 9 |
9.1 11.1 12.1 |
10 11 13 |
6.9 7.9 9.9 |
2 2 2 |
1.55 1.55 1.55 |
|
| AS013 AS014 AS015 |
10.82 12.42 14 |
1.78 1.78 1.78 |
11 13 14 |
14.1 16.1 17.1 |
15 17 18 |
11.9 13.9 14.9 |
2 2 2 |
1.55 1.55 1.55 |
|
| AS016 AS017 AS018 |
15.6 17.17 18.77 |
1.78 1.78 1.78 |
16 17 19 |
19.1 20.1 22.1 |
20 21 23 |
16.9 17.9 19.9 |
2 2 2 |
1.55 1.55 1.55 |
|
| AS019 AS020 AS021 |
20.35 21.95 23.52 |
1.78 1.78 1.78 |
21 22 24 |
24.1 25.1 27.1 |
25 26 28 |
21.9 22.9 24.9 |
2 2 2 |
1.55 1.55 1.55 |
|
| AS022 AS023 AS024 |
25.12 26.7 28.3 |
1.78 1.78 1.78 |
26 27 29 |
29.1 30.1 32.1 |
30 31 33 |
26.9 27.9 29.9 |
2 2 2 |
1.55 1.55 1.55 |
|

Alamat
Jalan Ruichen No.1, Taman Industri Dongliuting, Distrik Chengyang, Kota Qingdao, Provinsi Shandong, Cina
Telp