Segel hidrolik dasar Ruichen Seals terutama mencakup beberapa jenis segel, masing -masing dengan keunggulannya sendiri. Cincin-O banyak digunakan dalam berbagai kesempatan penyegelan dinamis dan statis karena biaya manufaktur yang rendah dan penggunaan yang nyaman. Sebagian besar negara telah merumuskan serangkaian standar produk untuk cincin-O, di antaranya Standar Amerika (AS568), Standar Jepang (JISB2401) dan Standar Internasional (ISO 3601/1) lebih umum. Standar nasional adalah GB3452.1 dan GB1235.
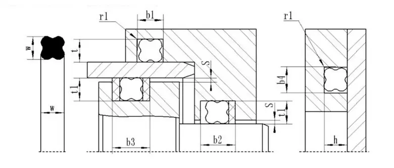
Cincin segel berbentuk bintang adalah segel empat-lip dengan bentuk berbentuk X, sehingga juga disebut cincin berbentuk X. Ini adalah peningkatan dan peningkatan berdasarkan cincin-O. Dimensi cross-sectional-nya sama dengan cincin-O AS sebagai standar 568a, dan pada dasarnya dapat menggantikan penggunaan cincin-O.
Keuntungan cincin bintang
Dibandingkan dengan cincin-O, cincin bintang memiliki lebih sedikit resistensi gesekan dan lebih sedikit resistensi awal karena mereka membentuk rongga pelumas di antara bibir penyegelan. Karena tepi flashnya terletak di bagian cekung dari penampang, efek penyegelan lebih baik. Penampang non-sirkular secara efektif menghindari fenomena bergulir selama gerakan bolak-balik.
Mekanisme kerja cincin bintang
Cincin bintang adalah elemen penyegelan akting ganda yang mengetuk sendiri. Gaya radial dan aksial tergantung pada tekanan sistem. Ketika tekanan naik, deformasi kompresi cincin bintang akan meningkat, dan total gaya penyegelan akan meningkat, sehingga membentuk segel yang andal.
Cara memilih cincin segel berbentuk bintang
Jika diameter poros dan lubang diketahui, pilih cincin segel berbentuk bintang yang sesuai sesuai dengan kriteria berikut:
1. Segeratan statis atau gerakan linier bolak-balik: (1) Segel lubang: Diameter dalam cincin berbentuk bintang harus kompatibel dengan alur, atau kurang dari sekitar 2% dari diameter dasar alur. Karena gaya pra-kompresi yang dihasilkan oleh pra-kompresi dapat secara efektif mencegah cincin segel berbentuk bintang dari memutar dan bergulir. (2) Penyegelan poros: Diameter dalam cincin berbentuk bintang harus sama dengan atau lebih besar dari diameter luar poros sekitar 0,2 ~ 0,3mm, atau bisa sekitar 1% lebih besar dari diameter luar poros. Akibatnya, cincin segel akan lebih mudah dipasang dan memiliki masa pakai yang lebih lama.
2. Rotary Sealing: Diameter dalam cincin berbentuk bintang harus sekitar 2 ~ 5% lebih besar dari diameter poros yang disegel. Karena cincin segel akan menghasilkan gesekan dan panas saat digunakan dalam gerakan berputar, dan karet akan menyusut saat dipanaskan (efek joule). Oleh karena itu, untuk memastikan bahwa cincin segel dapat dilumasi dan bekerja dengan andal, cincin berbentuk bintang dengan diameter dalam yang lebih besar dari diameter poros yang harus dipilih. Biasanya, cincin segel dengan penampang yang lebih kecil dapat memenuhi kebutuhan penyegelan statis. Sebaliknya, cincin segel dengan penampang yang lebih besar harus dipilih untuk memenuhi segel dinamis. Dalam kasus tekanan tinggi atau celah besar, bahan karet dengan kekerasan yang lebih tinggi harus dipilih. Cara terbaik adalah menambahkan cincin penahan PTFE untuk mencegah kerusakan ekstrusi tekanan tinggi.
Cincin-O yang dilapisi secara organik menggabungkan elastisitas dan penyegelan karet dengan ketahanan kimia Teflon. Ini terdiri dari inti bagian dalam silikon atau fluororubber dan lapisan luar Teflon yang relatif tipis atau Teflon PFA.
Bahan: Teflon FEP dan Teflon PFA pada dasarnya serupa, tetapi Teflon PFA memiliki ketahanan suhu tinggi yang lebih baik daripada Teflon FEP. Kisaran suhu yang berlaku teflon fep shell: -60 ℃ ~ 205 ℃ dapat digunakan pada 260 ℃ untuk waktu singkat teflon pfa shell: -60 ℃ ~ 260 ℃ dapat digunakan pada 300 ℃ untuk keuntungan waktu yang singkat:
1. Resistensi kimia yang luar biasa, cocok untuk hampir semua media kimia
2. Kisaran suhu yang luas
3. Resistensi kompresi yang baik
4. Anti-gesekan
5. Anti-pengerjaan yang baik
6. Resistensi Tekanan Tinggi
7. Daya tahan penyegelan yang sangat baik dan umur layanan yang panjang
Aplikasi: Pompa dan katup, kapal reaksi, segel mekanis, filter, bejana tekanan, penukar panas, boiler, flensa pipa, kompresor gas, dll.
Industri Aplikasi: Industri Kimia, Manufaktur Pesawat, Industri Farmasi, Transportasi Minyak dan Kimia dan Pemurnian, Industri Film, Teknik Pendinginan, Industri Pengolahan Makanan, Industri Pembuatan Kaper, Pembuatan Pewarnaan, Penyemprotan Cat, dll.
Instruksi pemasangan untuk cincin penyegelan
1. Bagian -bagian tempat cincin penyegelan dipasang atau dilewatkan harus halus, bebas dari gerinda, alur, dan sudut tajam. Kekasaran lubang dalam harus mencapai 1.6μ dan kekasaran poros harus mencapai 0.8um.
2. Oleskan oli atau minyak ringan bersih untuk melumasi permukaan cincin penyegelan dan bagian yang relevan dalam kontak.
3. Jika sulit untuk memasang cincin penyegelan pada poros, rendam dalam air panas selama beberapa menit untuk memperluasnya. Cincin-O yang melunak dan diperluas ini lebih mudah dipasang. Pasang cincin-O saat panas, dan ukurannya akan kembali ke ukuran aslinya setelah mendinginkan.
4. Jangan menekuk cincin-O terlalu keras, jika tidak, itu akan menyebabkan kerutan di teflon dan mempengaruhi penggunaannya.
Kompresi yang disarankan dari cincin-O yang dilapisi adalah sebagai berikut:
Keadaan penyegelan statis: 15%-20%
Status penyegelan dinamis: 10%-12%
Keadaan pneumatik: 7%-8%
Kompresi aktual harus memperhitungkan kondisi kerja, terutama tekanan kerja penyegelan dan faktor -faktor lainnya.
Fitur dan Aplikasi Produk:
| Tabel Parameter Kinerja O-Ring |
|
|
|
|
Segel statis | Segel dinamis |
| Tekanan kerja | Tanpa menahan cincin, 20mpa max Dengan cincin penahan, 40 MPa maks, cincin penahan khusus 200mpa max | Tanpa menahan cincin, 5mpa max Dengan cincin penahan, tekanan yang lebih tinggi |
| Kecepatan | Reciprocating 0,5m/s maks, berputar 2m/s maks | |
| Suhu | Penggunaan Umum: -30 ~+110, Karet Khusus: -60 ~+250, berputar: -30 ~+80 | |
| Sedang | Lihat bagian Bahan | |
| Standar | Diameter penampang o-ring w |
|
|||||
| Standar Amerika sebagai 568 British Standard BS 1516 | 1.78 | 2.62 | 3.52 | 5.33 | 6.99 | - | |
| Standar Jepang IT B2401 | 1.9 | 2.4 | 3.1 | 3.5 | 5.7 | 8.4 | |
| ISO Standar Internasional 3601/1 DIN standar Jerman 3771/1 CB Standar Cina 3452.1 | 1.8 | 2.65 | 3.55 | 5.30 | 7.00 | - | |
| Ukuran metrik yang disukai | 1.0 | 1.5 | 2.0 | 2.5 | 3.0 | 3.5 | |
| 4.0 | 4.5 | 5.0 | 5.5 | 6.0 | 7.0 | ||
| 8.0 | 10.0 | 12.0 |
|
|
|
||
| Standar Amerika sebagai 568 (Seri 900) | 1.02 | 1.42 | 1.63 | 1.83 | 1.98 | 2.08 | |
| 2.21 | 2.46 | 2.95 | 3.00 |
|
|
|
|
| Rentang aplikasi cincin bintang sangat luas. Pilih bahan yang tepat sesuai dengan suhu, tekanan dan medium. Untuk mengadaptasi cincin bintang ke aplikasi yang diberikan, kendala timbal balik antara semua parameter kerja harus dipertimbangkan. Saat menentukan kisaran aplikasi, suhu puncak, suhu kerja terus menerus dan siklus operasi harus dipertimbangkan. Dalam aplikasi yang berputar, kenaikan suhu yang disebabkan oleh panas gesekan juga harus dipertimbangkan. | |||||
| Parameter teknis | Segel dinamis | Segel statis |
|
||
| Gerakan bolak -balik | Gerakan Rotasi |
|
|||
| Tekanan kerja (MPA) | Dengan cincin penahan | 30 | 15 | 40 |
|
| Tanpa menahan cincin | 5 | - | 5 |
|
|
| Kecepatan (M/S) | 0.5 | 2.0 | - |
|
|
| Suhu (℃) | Acara Umum: -30 ℃ ~+110 ℃ |
|
|||
| Bahan Khusus: -60 ℃ ~+200 ℃ |
|
||||
| Acara rotasi: -30 ℃ ~+80 ℃ |
|
||||
Bahan Cincin Bintang:
Bahannya umumnya Shaw A70 Nitrile Rubber NBR.
O-ring yang dilapisi:
Diagram skematik dari alur cincin-O yang dienkapsulasi
Tabel dimensi alur cincin-O yang dienkapsulasi (disarankan)
| Diameter kawat d | A (mm) | B (mm) | ||
| Segel statis | Segel dinamis | Segel pneumatik | ||
| 1.78 | 2.36/2.49 | 1.42/1.52 | 1.55/1.60 | 1.63/1.65 |
| 2.62 | 3.56/3.68 | 2.08/2.21 | 2.29/2.36 | 2.39/2.44 |
| 3.53 | 4.75/4.88 | 2.82/3.00 | 3.10/3.18 | 3.22/3.28 |
| 5.33 | 7.14/7.26 | 4.27/4.52 | 4.67/4.80 | 4.90/4.95 |
| 6.99 | 9.63/9.65 | 5.59/5.89 | 6.15/6.27 | 6.43/6.48 |
Ruichen Seal PTFE Seal Instalation Guide
Ⅰ. Panduan Instalasi
1. Segel harus dipasang di sisi yang dimuat sebelumnya, menghadap ke arah tekanan.
2. Badan silinder dan batang piston harus dibuat dengan chamfers push-in yang memenuhi persyaratan sampel perusahaan kami.
3. Tepi yang tajam harus bebas dari gerinda dan bulat atau talang.
4. Benang, alur cincin pemandu, dll. Harus ditutup, karena segel tidak dapat didorong melalui alur, lubang yang dibor atau permukaan kasar.
5. Debu, puing -puing, atau partikel asing lainnya harus dihilangkan dengan cermat.
6. Alat dengan tepi tajam tidak boleh digunakan.
7. Cincin penyegelan PTFE lebih mudah diperluas dalam minyak atau air yang dipanaskan (sekitar 80 ~ 120 derajat) dan mudah dipulihkan ke bentuk aslinya.
8. Jika bibir segel perlu melewati lubang tekanan oli, tongkat plastik harus digunakan untuk mendorong bibir dengan lembut untuk mencegah talang lubang dari merusak bibir penyegelan. Lubang silinder harus dibelokkan. (Gambar 3)
Ⅱ. Metode instalasi
Buka (split) alur dapat diinstal tanpa alat.
Pemasangan segel batang piston alur tertutup (Gambar 1)
1. Bersihkan dan oli Semua substrat segel, segel, dan alat pemasangan.
2. Tempatkan cincin karet ke dalam alur (hati -hati janganlah untuk memelintirnya).
3. Kompres cincin segel PTFE ke dalam bentuk ginjal tanpa membentuk tikungan runcing, tempatkan cincin segel PTFE terkompresi ke dalam alur, dan ratakan dengan lembut dengan tangan.
4. Dorong mandrel pemulihan ke segel dan putar mandrel dengan lembut. Biarkan selama 1 menit dan lepaskan mandrel. Instalasi selesai.
Pemasangan segel piston dalam alur tertutup (Gambar 2)
1. Bersihkan dan oli Semua substrat segel, segel, dan alat pemasangan.
2. Tempatkan cincin karet ke dalam alur (hati -hati janganlah untuk memelintirnya).
3. Dorong cincin penyegelan PTFE ke lengan pemandu dan rentangkan cincin penyegelan.
4. Dorong cincin penyegelan yang diregangkan ke alur piston.
5. Dorong lengan koreksi ke cincin penyegelan dan putar lengan koreksi pada saat yang sama. Lepaskan lengan koreksi setelah meninggalkannya selama 1 menit dan instalasi selesai.
Catatan: 1. Silakan berkonsultasi dengan perusahaan kami jika produk yang ditentukan dalam sampel perusahaan kami tidak dapat dipasang dalam alur tertutup tetapi tidak cocok untuk alur terbuka.
2. Pemasangan segel PTFE di atas tidak berlaku untuk semua segel PTFE. Silakan berkonsultasi dengan perusahaan kami jika perlu.



























Alamat
Jalan Ruichen No.1, Taman Industri Dongliuting, Distrik Chengyang, Kota Qingdao, Provinsi Shandong, Cina
Telp